网站支持IPv6/IPv4
中国政府网
云南省政府
迪庆州政府
简体
/
繁体
无障碍浏览
长者模式
香格里拉市人民政府
政府信息公开
(市住房和城乡建设局)
政府信息公开指南
部门信息公开指南
法定主动公开内容
通知公告
政府信息公开基本目录
领导信息
部门领导信息
组织机构
规划信息
香格里拉市规划信息
行政执法和行政强制
执法主体信息
执法人员信息
执法职责和依据信息
执法程序信息
有关便民服务信息
双随机一公开制度及随机抽查事项清单
救济渠道信息
行政执法结果信息
年度行政执法和行政执法监督数据统计信息
建议提案办理结果公开
人大建议办理结果公开
政协提案办理结果公开
财政信息公开专栏
部门预决算
部门“三公经费”
重大建设项目信息公开
建设项目审批许可信息
建设项目施工信息
质量和安全管理
线上审批服务
行政许可及其它管理事项
基层政务公开标准规范化目录
政务公开标准化规范化目录
工作动态
重大行政决策
重点领域信息公开
国有土地上房屋征收补偿信息公开
重点民生领域信息
住房保障信息公开
疫情防控信息
乡村振兴
突发事件应急处置信息
政府信息公开年报
部门信息公开年报
政策文件
转发政策文件及解读文件
政策文件
政策解读
其他文件
部门文件
依申请公开
索引号
4330450953/202100221
文 号
无
来 源
住房和城乡建设局
公开日期
2021-09-23
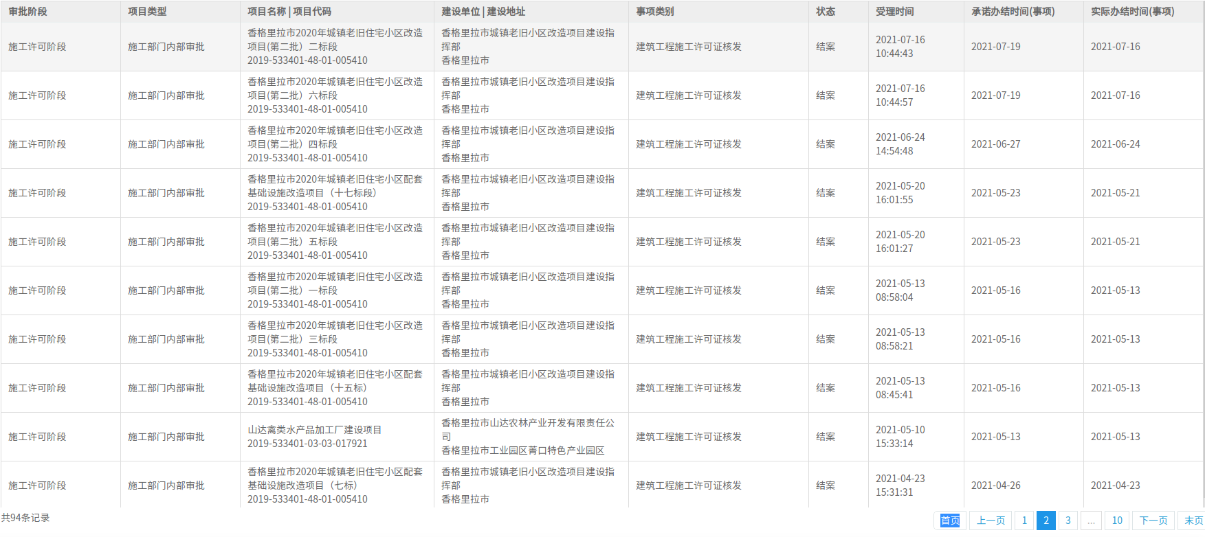
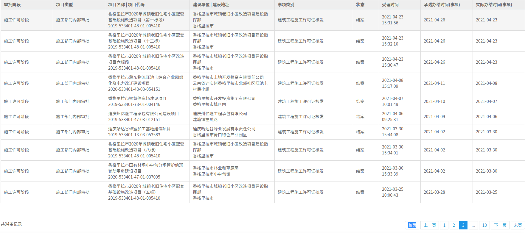
工建截图
发布时间:2021-09-23 11:51 浏览次数:2804
字体:[
大
中
小
]
打印
分享到:
截图查看.docx
023921242d8b96aa94e0406fdf830ae.png
bfc61dbc8eae7e552148931b5837f22.png
c7cf371e7e7decf97f709ac0c4f89a3.png
fcd35798a71098a6e2242662a466165.png
上一篇:
第135期开展城市建设档案双随机、一公开抽查工作简报
下一篇:
工程档案检查