网站支持IPv6/IPv4
中国政府网
云南省政府
迪庆州政府
简体
/
繁体
无障碍浏览
长者模式
香格里拉市人民政府
政府信息公开
(市卫生健康局)
政府信息公开指南
部门信息公开指南
法定主动公开内容
通知公告
政府信息公开基本目录
领导信息
部门领导信息
组织机构
行政执法和行政强制
执法主体信息
执法人员信息
执法职责和依据信息
执法程序信息
有关便民服务信息
双随机一公开制度及随机抽查事项清单
救济渠道信息
行政执法结果信息
年度行政执法和行政执法监督数据统计信息
建议提案办理结果公开
人大建议办理结果公开
政协提案办理结果公开
财政信息公开专栏
部门预决算
部门“三公经费”
政府采购
重大建设项目信息公开
建设项目审批许可信息
线上审批服务
基层政务公开标准规范化目录
政务公开标准化规范化目录
工作动态
重点领域信息公开
审计结果公示
重点民生领域信息
医疗卫生信息公开
疫情防控信息
政府信息公开年报
部门信息公开年报
政策文件
转发政策文件及解读文件
其他文件
部门文件
依申请公开
索引号
MBOX44804N/202000109
文 号
无
来 源
卫生健康局
公开日期
2020-07-30
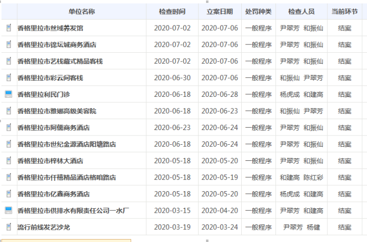
香格里拉市卫生监督所2020.1.1-2020.7.31行政执法案件公开
发布时间:2020-07-30 09:29 浏览次数:2071
字体:[
大
中
小
]
打印
分享到:
上一篇:
东旺乡卫生院服务能力提升医疗施设备采购公示
下一篇:
小中甸镇卫生院采购项目公开